为更好地向公民、法人或其他组织提供政府信息公开服务,方便公众快速、准确地查找坪山区住房保障中心依法公开的政府信息,根据《中华人民共和国政府信息公开条例》(2019年4月修订版,以下简称《条例》)的规定,制定本指南。
一、信息分类和编排体系
(一)机构职能。主要包括:主要职能;机构领导及分工;内设机构设置及其职能等。
(二)规范性文件。主要包括:与本机关职能和业务相关的政策法规;以本机关名义发布或者本机关作为主办部门与其他部门联合发布的规范性文件等。
(三)规划计划。主要包括:本单位年度工作计划及总结、专项规划等。
(四)资金信息。主要包括:本行政机关年度财政预算、决算信息;专项资金;业务相关的其他资金信息。
(五)其他。主要包括:本行政机关工作动态、通知公告;人员招考等人事信息;本行政机关职责范围内依法应当公开的其他信息等。
二、获取形式
(一)主动公开。
对涉及公众利益调整、需要公众广泛知晓或者需要公众参与决策的政府信息,应当主动公开。
1.公开形式
属于主动公开范围的政府信息,主要通过“坪山区人民政府”网站(https://www.szpsq.gov.cn)予以公开。
本机关还将采用以下辅助方式主动公开政府信息:
(1)通过“创新坪山”微信公众号发布政策文件及解读、办事服务等政府信息。
(2)通过新闻发布会、报纸、广播、电视等渠道发布政府信息。
(3)《坪山区人民政府公报》网络电子版可登录坪山区人民政府网站(www.szpsq.gov.cn)“政府公报”专栏查阅,同时线下可通过政务公开服务专区查阅。
(4)除了政府网站,我区在坪山区政务服务中心设有政务公开服务专区,配备了自助查阅电脑、打印机、信息公开资料架等设施设备,公民、法人或者其他组织可以到服务专区查询相关政府信息。
坪山区政务服务中心地址:深圳市坪山区金牛西路12号。
2.公开时限
属于主动公开范围的政府信息,本行政机关在该政府信息形成或变更之日起20个工作日内予以公开。法律、法规对政府信息公开的期限另有规定的,从其规定。
(二)依申请公开
除本行政机关主动公开的政府信息外,公民、法人或者其他组织可以向本机关申请获取相关政府信息。
1.申请方式
向本行政机关申请获取政府信息的,应当填写《坪山区住房保障中心政府信息公开申请表》(以下简称《申请表》)。《申请表》可以在受理机构处领取,也可以在本网站下载电子版(见附件1),复制有效。
(1)书面申请
①当面申请。申请人向本行政机关政府信息公开工作机构当面提交申请。
②信函申请。申请人通过信函方式提出申请的,应当在信封的显著位置注明“政府信息公开申请”字样,以“邮政寄送”方式提交申请。
(2)通过互联网申请
申请人可通过坪山区人民政府网站“政府信息依申请公开”专栏填写电子版《申请表》后直接提交。
本行政机关不直接受理通过电子邮件、电话、短消息等方式提出的申请。
2.申请填报要求
申请人提出的政府信息公开申请应当真实载明下列内容:
(1)申请人的姓名或名称、有效身份证明、联系方式。
(2)申请公开的政府信息的名称、文号或者便于行政机关查询的其他特征性描述。所需的政府信息应当描述明确、详尽,有助于受理机构确定信息内容。
(3)申请公开的政府信息的形式要求,包括获取信息的方式、途径。
(4)当面申请的,应当出示有效身份证件;通过邮政寄送提交申请的,应随申请表附有效身份证件复印件;网上申请的,应上传有效身份证件扫描件或照片。
(5)承诺所获取的政府信息,只用于自身的需要,不作任何炒作及随意扩大公开范围。
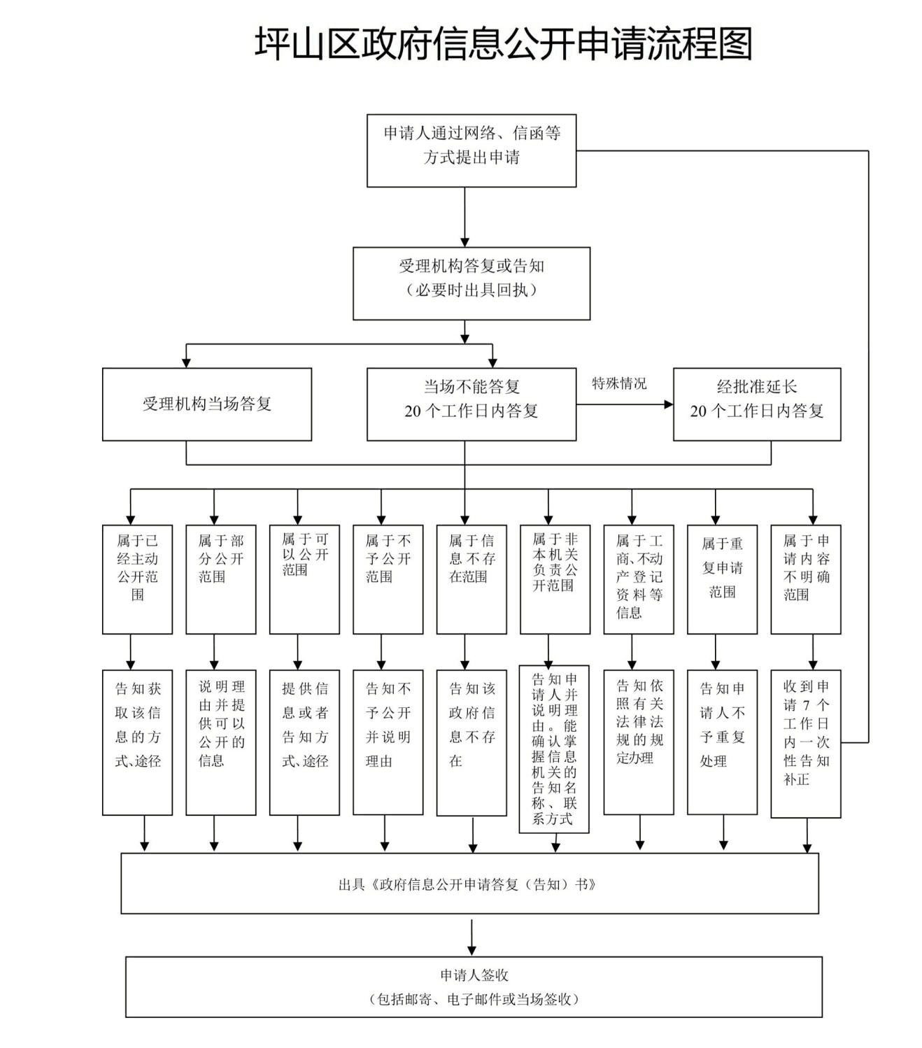
3.申请受理
登记初审。受理机构收到申请后,将进行登记和初审(必要时将出具回执)。
初审内容包括:所需政府信息描述是否明确,形式要件是否完整,身份证明是否真实。
政府信息公开申请内容不明确的,自收到申请之日起7个工作日内告知申请人作出补正。申请人无正当理由逾期不补正的,视为放弃申请,本机关不再处理该政府信息公开申请。
经初审申请符合受理各项规定的,将根据不同情况分别作出答复。(见附件2)
4.收费
根据《条例》第四十二条和《国务院办公厅关于印发<政府信息公开信息处理费管理办法>的通知》(国办函〔2020〕109号)第二条规定,行政机关向申请公开政府信息超出一定数量或者频次范围的申请人收取费用。
政府信息公开申请处理期限从申请人完成缴费次日起重新计算。
三、政府信息公开工作机构
机构名称:深圳市坪山区住房保障中心综合部
办公地址:深圳市坪山区金牛西路8号区政府第三办公区1503办公室
办公时间:9:00-12:30,14:00-17:30(工作日)
联系电话:0755-84538716、0755-85209132
传真号码:0755-28477144
邮政编码:518118
互联网申请地址:https://ysqgk.gd.gov.cn/755041/index
邮箱:pszfbzzx@szpsq.gov.cn(本邮箱仅用于接收信息公开工作咨询及有关意见建议,如需提交政府信息公开申请,请参阅前述“依申请公开”)
四、监督保障
公民、法人或者其他组织认为本行政机关未依法履行政府信息公开义务的,可以根据《条例》第四十七条、第五十一条规定,向上一级行政机关或者政府信息公开工作主管部门投诉、举报。公民、法人或者其他组织认为本行政机关在政府信息公开工作中侵犯其合法利益的,也可以依法申请行政复议或提起行政诉讼。
坪山区住房保障中心接受公民、法人或者其他组织对政府信息公开工作的意见建议、投诉举报,电话:0755-12345。





粤公网安备 44031002000124号
"创新坪山"
i深圳