 无障碍    长者助手 我的收藏   收藏
政府信息公开 规章库

坪山区应急管理局政府信息公开指南

坪山区应急管理局政府信息公开指南

  为更好地向公民、法人或其他组织提供政府信息公开服务,方便公众快速、准确地查找坪山区应急管理局依法公开的政府信息,根据《中华人民共和国政府信息公开条例》(2019年4月修订版,以下简称《条例》)的规定,制定本指南。

  一、信息分类和编排体系

  (一)机构职能。主要包括:主要职能;机构领导及分工;内设机构设置及其职能;直(下)属单位设置及其职能等。

  (二)规划计划。主要包括:本机关年度工作计划及总结等。

  (三)资金信息。主要包括:本行政机关年度财政预算、决算信息等。

  (四)应急管理。主要包括:本机关预警公告、应急动态、突发事件、应急预案、应急常识等。

  (五)安全生产。主要包括:本机关职能和业务相关的规章文件、安全知识等。

  (六)其他。主要包括:本行政机关工作动态、通知公告等职责范围内依法应当公开的信息。

  二、政府信息公开形式

  (一)主动公开

  对涉及公众利益调整、需要公众广泛知晓或者需要公众参与决策的政府信息,应当主动公开。

  1.公开形式

  属于主动公开范围的政府信息,主要通过“坪山区人民政府”网站(https://www.szpsq.gov.cn)予以公开。

  本机关还将采用以下辅助方式主动公开政府信息:

  (1)通过“创新坪山”微信公众号发布政策文件及解读、办事服务等政府信息。

  (2)通过新闻发布会、报纸、广播、电视等渠道发布政府信息。

  (3)《坪山区人民政府公报》网络电子版可登录坪山区人民政府网站(www.szpsq.gov.cn)“政府公报”专栏查阅,同时线下可通过政务公开服务专区查阅。

  (4)除了政府网站,我区在坪山区政务服务中心设有政务公开服务专区,配备了自助查阅电脑、打印机、信息公开资料架等设施设备,公民、法人或者其他组织可以到服务专区查询本机关相关政府信息

  坪山区政务服务中心:地址:深圳市坪山区金牛西路12号。

  2.公开时限

  属于主动公开范围的政府信息,本行政机关在该政府信息形成或变更之日起20个工作日内予以公开。法律、法规对政府信息公开的期限另有规定的,从其规定。

  (二)依申请公开

  除本行政机关主动公开的政府信息外,公民、法人或者其他组织可以向本机关申请获取相关政府信息。

  1.申请方式

  向本行政机关申请获取政府信息的,应当填写《坪山区应急管理局政府信息公开申请表》(以下简称《申请表》)。《申请表》可以在受理机构处领取,也可以在本网站下载电子版(见附件1),复制有效。

  (1)书面申请

  ①当面申请。申请人向本行政机关政府信息公开工作机构当面提交申请。

  ②信函申请。申请人通过信函方式提出申请的,应当在信封的显著位置注明“政府信息公开申请”字样,以“邮政寄送”方式提交申请。

  (2)通过互联网申请

  申请人可通过坪山区人民政府网站“政府信息依申请公开”专栏填写电子版《申请表》后直接提交。

  本行政机关不直接受理通过电子邮件、电话、短消息等方式提出的申请。

  2.申请填报要求

  申请人提出的政府信息公开申请应当真实载明下列内容:

  (1)申请人的姓名或名称、有效身份证明、联系方式。

  (2)申请公开的政府信息的名称、文号或者便于行政机关查询的其他特征性描述。所需的政府信息应当描述明确、详尽,有助于受理机构确定信息内容。

  (3)申请公开的政府信息的形式要求,包括获取信息的方式、途径。

  (4)当面申请的,应当出示有效身份证件;通过邮政寄送提交申请的,应随申请表附有效身份证件复印件;网上申请的,应上传有效身份证件扫描件或照片。

  (5)承诺所获取的政府信息,只用于自身的需要,不作任何炒作及随意扩大公开范围。

  3.申请受理

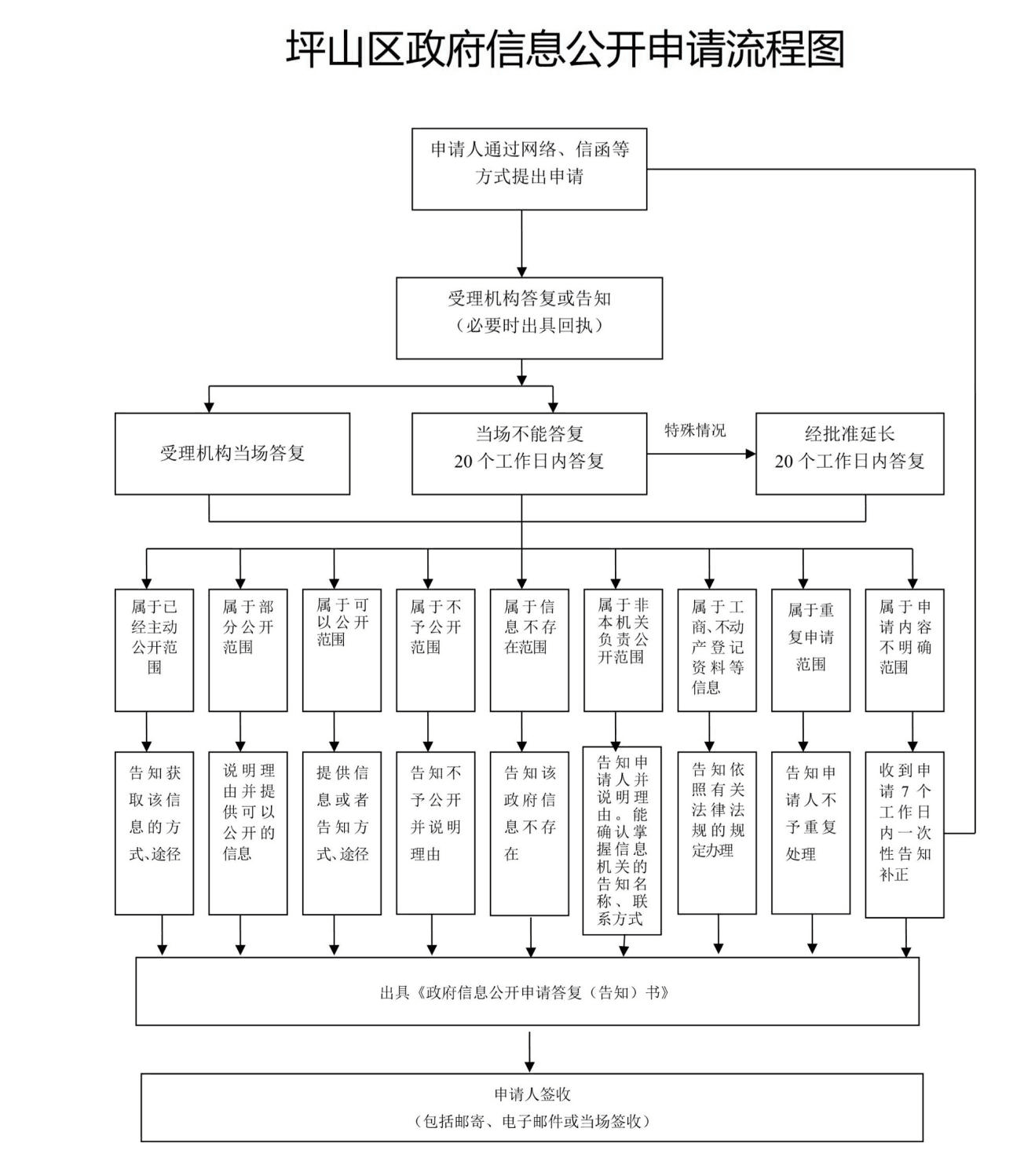
  登记初审。受理机构收到申请后,将进行登记和初审(必要时将出具回执)。

  初审内容包括:所需政府信息描述是否明确,形式要件是否完整,身份证明是否真实。

  政府信息公开申请内容不明确的,自收到申请之日起7个工作日内告知申请人作出补正。申请人无正当理由逾期不补正的,视为放弃申请,本机关不再处理该政府信息公开申请。

  经初审申请符合受理各项规定的,将根据不同情况分别作出答复。(见附件2)

  4.收费

  根据《条例》第四十二条和《国务院办公厅关于印发<政府信息公开信息处理费管理办法>的通知》(国办函〔2020〕109号)第二条规定,行政机关向申请公开政府信息超出一定数量或者频次范围的申请人收取费用。

  政府信息公开申请处理期限从申请人完成缴费次日起重新计算。

收费项目

政府信息公开信息处理费

收费依据

《国务院办公厅关于印发<政府信息公开信息处理费管理办法>的通知》(国办函〔2020〕109号)

收费对象

申请公开政府信息超出一定数量或者频次范围的申请人

收费时限

及方式

行政机关依法决定收取信息处理费的,应当在政府信息公开申请处理期限内,按照申请人获取信息的途径向申请人发出收费通知,说明收费的依据、标准、数额、缴纳方式等

缴费时限

申请人应当在收到收费通知次日起20个工作日内缴纳费用,逾期未缴纳的视为放弃申请,行政机关不再处理该政府信息公开申请

收费

标准

计收
类型

按件计收

按量计收

适用
情形

适用于所有政府信息公开申请处理决定类型

适用于申请人要求以提供纸质件、发送电子邮件、复制电子数据等方式获取政府信息的情形

计收
方式

申请人的一份政府信息公开申请包含多项内容的,按照“一事一申请”原则,以合理的最小单位拆分计算件数。同一申请人一个自然月累计申请件数

以单件政府信息公开申请为单位分别计算页数(A4及以下幅面纸张的单面为1页),对同一申请人提交的多件政府信息公开申请不累加计算页数

计收
标准

10件以下(含10件)

11-30件

(含30件)的部分

31件以上的部分,以10件为一档,每增加一档,收费标准提高100元/件

30页以下(含30页)

31—100页(含100页)的部分

101—200页(含200页)的部分

201页以上的部分

不收费

100元/件

不收费

10元/页

20元/页

40元/页

  三、政府信息公开工作机构

  机构名称:深圳市坪山区应急管理局办公室

  办公地址:深圳市坪山区金牛西路8号1112室

  办公时间:9:00-12:30,14:00-17:30(工作日)

  联系电话:0755-84539227

  传真号码:0755-84539227

  邮政编码:518118

  互联网申请地址:https://ysqgk.gd.gov.cn/755041/index

  邮箱:psqyjglj@szpsq.gov.cn(本邮箱仅用于接收信息公开工作咨询及有关意见建议,如需提交政府信息公开申请,请参阅前述“依申请公开”)

  四、监督保障

  公民、法人或者其他组织认为本行政机关未依法履行政府信息公开义务的,可以根据《条例》第四十七条、第五十一条规定,向上一级行政机关或者政府信息公开工作主管部门投诉、举报。公民、法人或者其他组织认为本行政机关在政府信息公开工作中侵犯其合法利益的,也可以依法申请行政复议或提起行政诉讼。

  坪山区应急管理局接受公民、法人或者其他组织对政府信息公开工作的意见建议、投诉举报,电话:0755-12345。


附件:

1.附件1:坪山区应急管理局政府信息公开申请表.docx

2.附件2:坪山区政府信息公开申请流程图.png